专利数据库
统计分析
产业报告
专利数据监控
产业人才
行业动态
产业政策法规
维权援助
个人中心
详情
文本
图像
标题
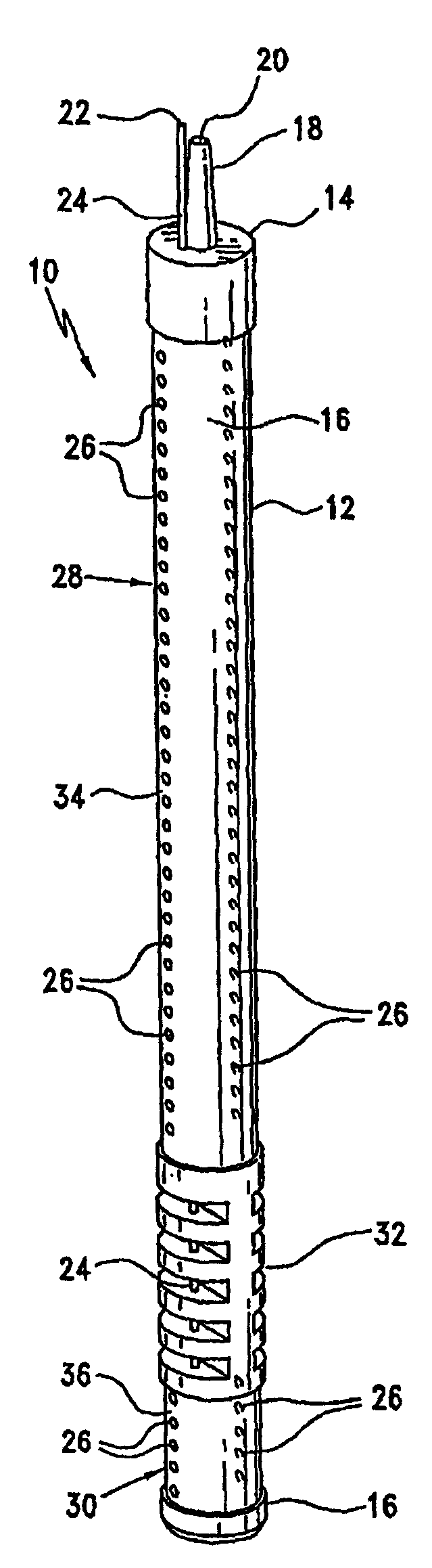
通过内窥镜执行胃缩小手术的装置和方法
授权日
2012-07-04
公开(公告)号
CN1907241B
申请日
2006-08-04
公开(公告)日
2012-07-04
当前申请(专利权)人
伊西康内外科公司
发明人
马克・S・奥尔蒂斯
简单同族
AT416679T | AU2006203018A1 | AU2006203018B2 | BRPI0603187A2 | BRPI0603187B1 | CA2555061A1 | CA2555061C | CN1907241A | CN1907241B | DE602006004118D1 | EP1749480A1 | EP1749480B1 | ES2317461T3 | JP2007050248A | JP5117010B2 | US20070032702A1 | US7779845
简单同族成员数量
17
简单同族被引用专利总数
81
诉讼案件数
0
法律状态/事件
授权
抱歉,您的浏览器不支持PDF预览,请点击链接下载PDF文件