专利数据库
统计分析
产业报告
专利数据监控
产业人才
行业动态
产业政策法规
维权援助
个人中心
详情
文本
图像
标题
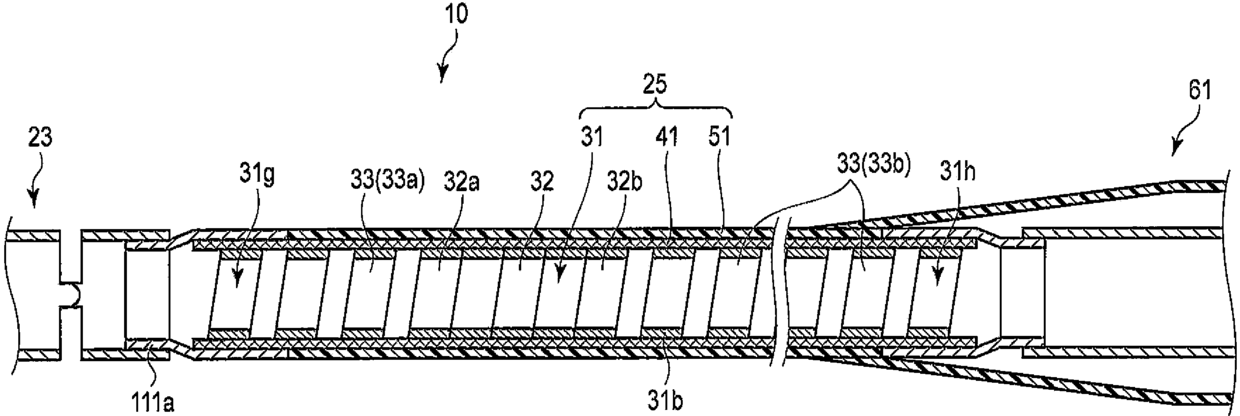
内窥镜的挠性管部和具有该挠性管部的内窥镜
授权日
1900-01-01
公开(公告)号
CN103748500A
申请日
2012-11-01
公开(公告)日
2014-04-23
当前申请(专利权)人
奥林巴斯株式会社
发明人
家出太郎
简单同族
CN103748500A | CN103748500B | JP2013097327A | JP5907696B2 | US20140155697A1 | US9820633 | WO2013065799A1
简单同族成员数量
7
简单同族被引用专利总数
40
诉讼案件数
0
法律状态/事件
授权
抱歉,您的浏览器不支持PDF预览,请点击链接下载PDF文件