专利数据库
统计分析
产业报告
专利数据监控
产业人才
行业动态
产业政策法规
维权援助
个人中心
详情
文本
图像
标题
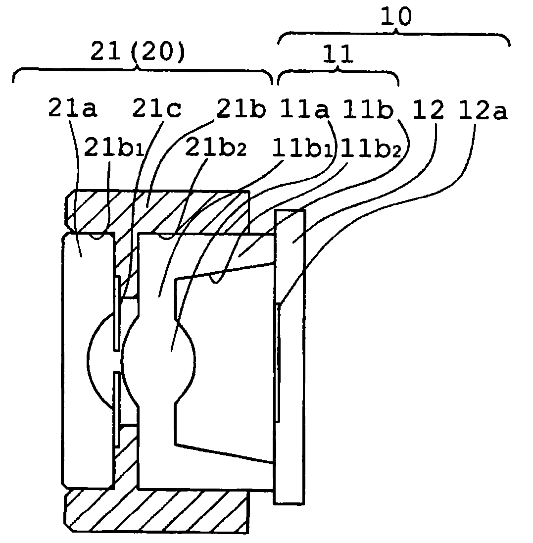
内窥镜用摄像组件
授权日
2011-06-22
公开(公告)号
CN101133934B
申请日
2007-07-05
公开(公告)日
2011-06-22
当前申请(专利权)人
奥林巴斯株式会社
发明人
金野光次郎
简单同族
CN101133934A | CN101133934B | JP2008055038A | JP4308233B2 | US20080055748A1 | US7561351
简单同族成员数量
6
简单同族被引用专利总数
67
诉讼案件数
0
法律状态/事件
未缴年费 | 权利转移
抱歉,您的浏览器不支持PDF预览,请点击链接下载PDF文件