专利数据库
统计分析
产业报告
专利数据监控
产业人才
行业动态
产业政策法规
维权援助
个人中心
详情
文本
图像
标题
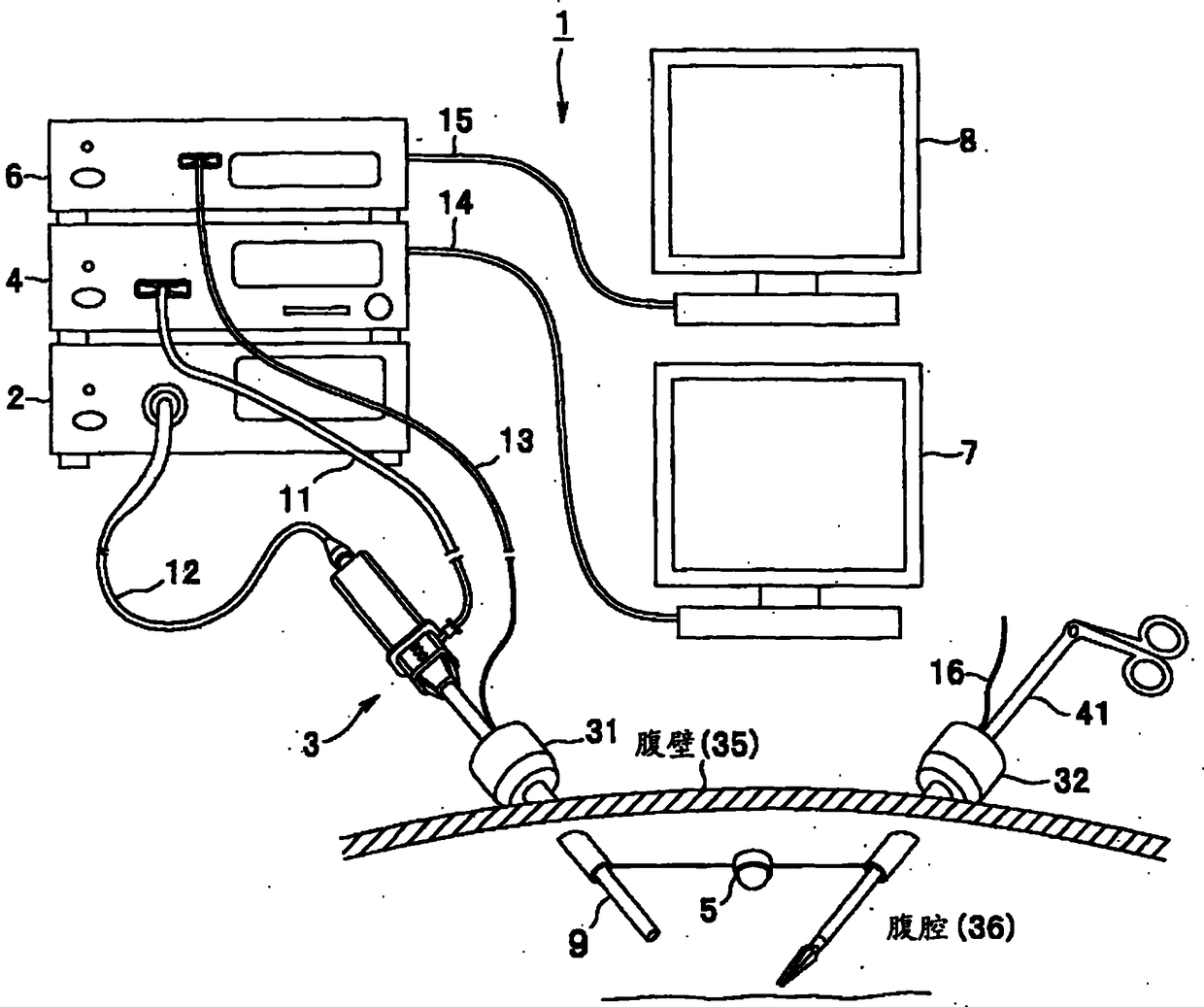
内窥镜系统
授权日
2012-07-18
公开(公告)号
CN101322640B
申请日
2008-06-12
公开(公告)日
2012-07-18
当前申请(专利权)人
奥林巴斯株式会社
发明人
半田启二 | 唐沢均 | 浅田大辅
简单同族
CN101322640A | CN101322640B | JP2008307225A | JP4472728B2 | US20080312499A1 | US8182414
简单同族成员数量
6
简单同族被引用专利总数
150
诉讼案件数
0
法律状态/事件
授权 | 权利转移
抱歉,您的浏览器不支持PDF预览,请点击链接下载PDF文件