专利数据库
统计分析
产业报告
专利数据监控
产业人才
行业动态
产业政策法规
维权援助
个人中心
详情
文本
图像
标题
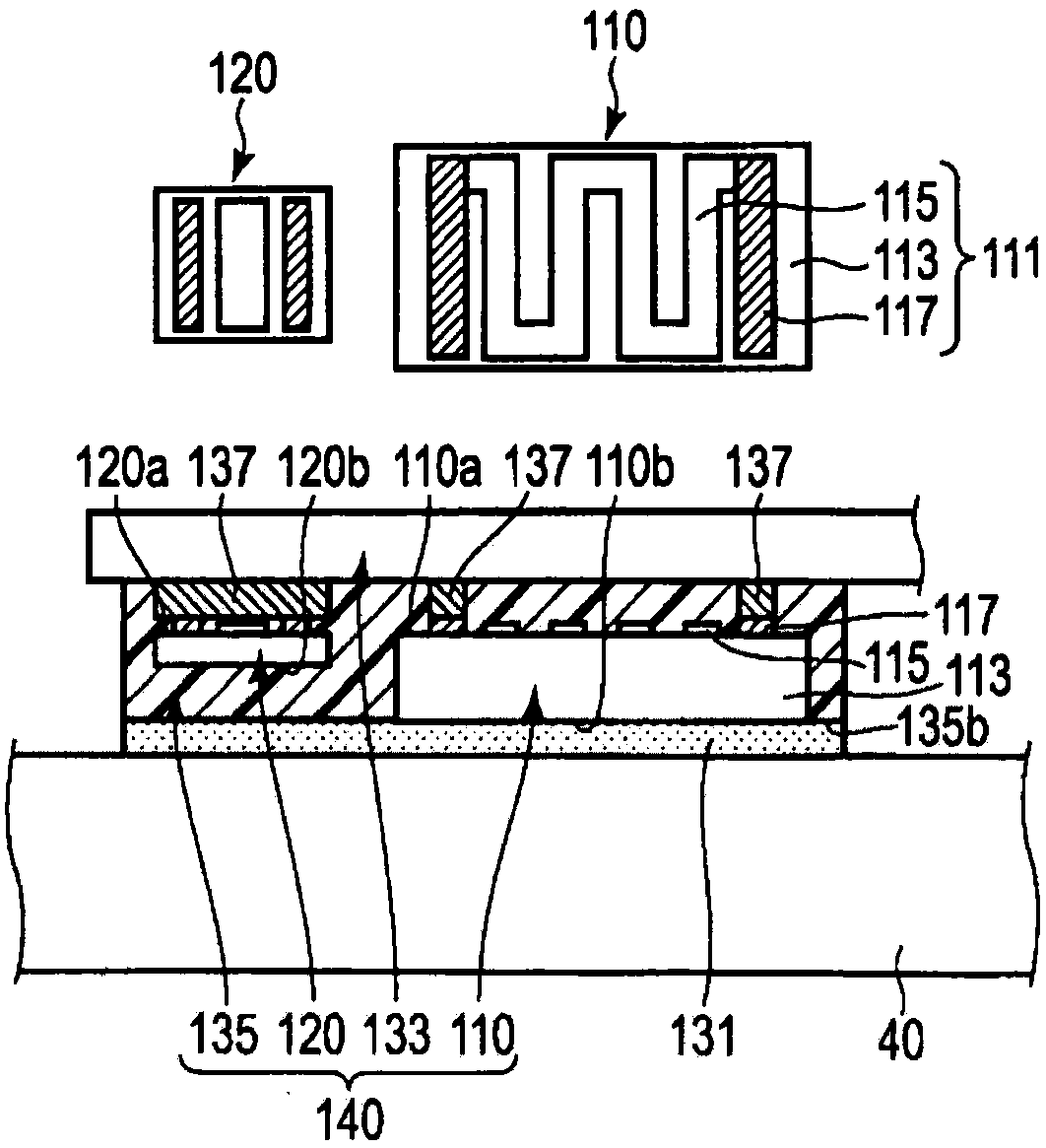
内窥镜的雾气防止用加热器单元和内窥镜
授权日
1900-01-01
公开(公告)号
CN105007799A
申请日
2014-01-10
公开(公告)日
2015-10-28
当前申请(专利权)人
奥林巴斯株式会社
发明人
井出隆之
简单同族
CN105007799A | CN105007799B | EP2957213A1 | EP2957213A4 | JP2014155583A | JP6009964B2 | US20150313454A1 | US9867527 | WO2014125850A1
简单同族成员数量
9
简单同族被引用专利总数
21
诉讼案件数
0
法律状态/事件
授权
抱歉,您的浏览器不支持PDF预览,请点击链接下载PDF文件