专利数据库
统计分析
产业报告
专利数据监控
产业人才
行业动态
产业政策法规
维权援助
个人中心
详情
文本
图像
标题
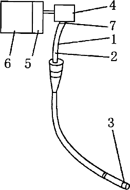
一种用于内窥镜的诊断光源
授权日
1900-01-01
公开(公告)号
CN101373051A
申请日
2007-11-29
公开(公告)日
2009-02-25
当前申请(专利权)人
上海雷硕医疗器械有限公司
发明人
曾平
简单同族
CN101373051A
简单同族成员数量
1
简单同族被引用专利总数
0
诉讼案件数
0
法律状态/事件
撤回
抱歉,您的浏览器不支持PDF预览,请点击链接下载PDF文件