专利数据库
统计分析
产业报告
专利数据监控
产业人才
行业动态
产业政策法规
维权援助
个人中心
详情
文本
图像
标题
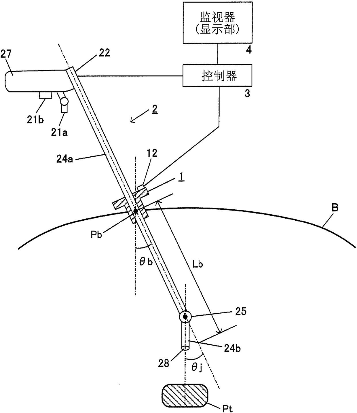
基于内窥镜的距离测定方法和内窥镜系统
授权日
1900-01-01
公开(公告)号
CN105848552A
申请日
2014-11-17
公开(公告)日
2016-08-10
当前申请(专利权)人
奥林巴斯株式会社
发明人
井上慎太郎
简单同族
CN105848552A | CN105848552B | EP3097838A1 | EP3097838A4 | JP2015123201A | JP6091410B2 | US10441146 | US20160302653A1 | WO2015098353A1
简单同族成员数量
9
简单同族被引用专利总数
24
诉讼案件数
0
法律状态/事件
授权
抱歉,您的浏览器不支持PDF预览,请点击链接下载PDF文件