专利数据库
统计分析
产业报告
专利数据监控
产业人才
行业动态
产业政策法规
维权援助
个人中心
详情
文本
图像
标题
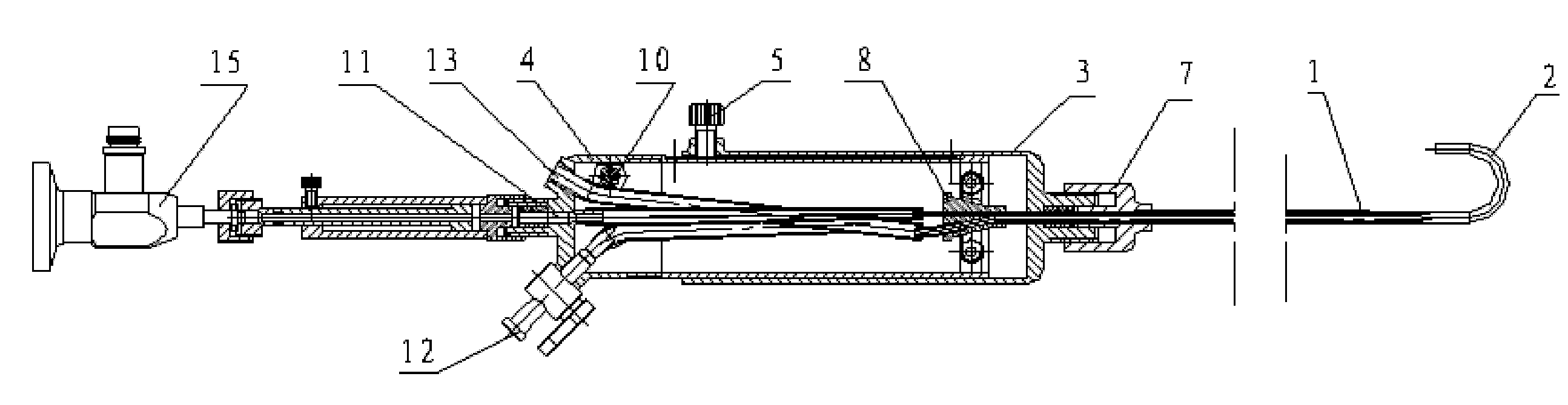
组合式软硬质内窥镜
授权日
1900-01-01
公开(公告)号
CN101933795A
申请日
2010-08-30
公开(公告)日
2011-01-05
当前申请(专利权)人
武汉佑康科技有限公司
发明人
龙刚 | 宋磊 | 陈志强 | 吴耀辉 | 夏萍
简单同族
CN101933795A | CN101933795B
简单同族成员数量
2
简单同族被引用专利总数
29
诉讼案件数
0
法律状态/事件
授权 | 质押
抱歉,您的浏览器不支持PDF预览,请点击链接下载PDF文件