专利数据库
统计分析
产业报告
专利数据监控
产业人才
行业动态
产业政策法规
维权援助
个人中心
详情
文本
图像
标题
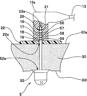
内窥镜系统
授权日
2010-09-01
公开(公告)号
CN101322638B
申请日
2008-06-13
公开(公告)日
2010-09-01
当前申请(专利权)人
奥林巴斯株式会社
发明人
唐沢均 | 半田启二 | 浅田大辅
简单同族
CN101322638A | CN101322638B | JP2008307224A | JP4472727B2 | US20080309758A1
简单同族成员数量
5
简单同族被引用专利总数
151
诉讼案件数
0
法律状态/事件
授权 | 权利转移
抱歉,您的浏览器不支持PDF预览,请点击链接下载PDF文件