专利数据库
统计分析
产业报告
专利数据监控
产业人才
行业动态
产业政策法规
维权援助
个人中心
详情
文本
图像
标题
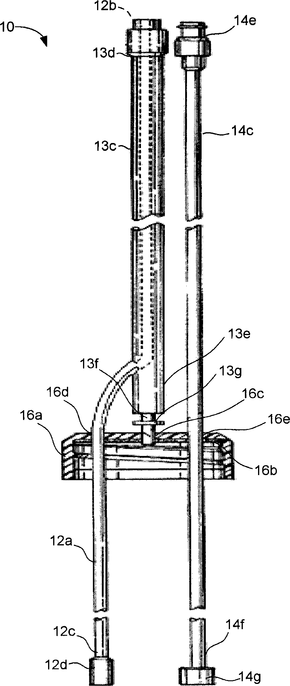
用于内窥镜灌注和镜头清洗的流体供应源的混合设备
授权日
2015-09-30
公开(公告)号
CN102551644B
申请日
2011-10-08
公开(公告)日
2015-09-30
当前申请(专利权)人
厄比-美国有限公司
发明人
D·G·莫里斯
简单同族
BRPI1107460A2 | CN102551644A | CN102551644B | EP2476365A1 | EP2476365B1 | JP2012086014A | JP5481457B2 | PL2476365T3 | RU2011140823A | RU2519773C2 | US10098525 | US10111578 | US20120088974A1 | US20150141757A1 | US20150374213A1 | US20170265727A1 | US20190223701A1 | US8870756 | US9144374
简单同族成员数量
19
简单同族被引用专利总数
45
诉讼案件数
0
法律状态/事件
授权
抱歉,您的浏览器不支持PDF预览,请点击链接下载PDF文件