专利数据库
统计分析
产业报告
专利数据监控
产业人才
行业动态
产业政策法规
维权援助
个人中心
详情
文本
图像
标题
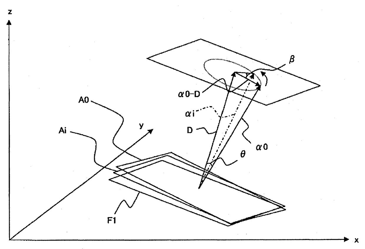
内窥镜插入形状分析系统
授权日
2012-11-14
公开(公告)号
CN102078194B
申请日
2007-07-12
公开(公告)日
2012-11-14
当前申请(专利权)人
奥林巴斯株式会社
发明人
田中秀树
简单同族
CN102078194A | CN102078194B | EP2082678A1 | EP2082678A4 | EP2082678B1 | US20090221869A1 | US8251890 | WO2008059636A1
简单同族成员数量
8
简单同族被引用专利总数
31
诉讼案件数
0
法律状态/事件
授权 | 权利转移
抱歉,您的浏览器不支持PDF预览,请点击链接下载PDF文件