专利数据库
统计分析
产业报告
专利数据监控
产业人才
行业动态
产业政策法规
维权援助
个人中心
详情
文本
图像
标题
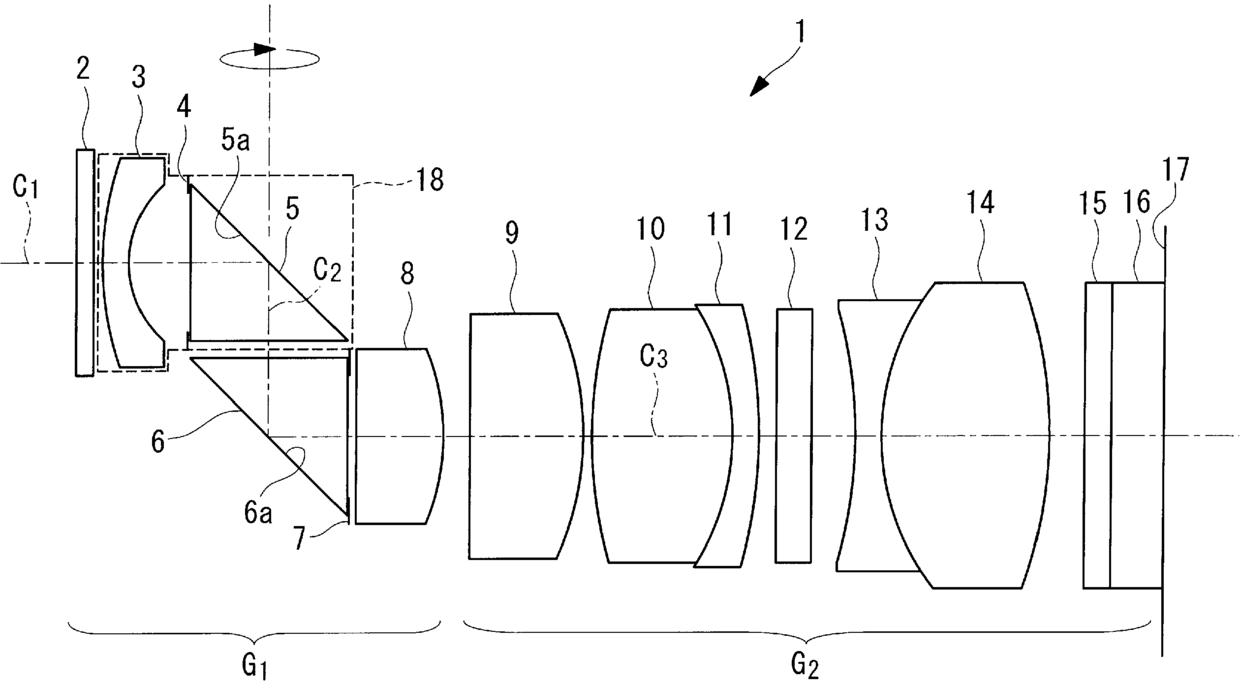
内窥镜用光学系统
授权日
2015-06-03
公开(公告)号
CN103229087B
申请日
2011-11-16
公开(公告)日
2015-06-03
当前申请(专利权)人
奥林巴斯株式会社
发明人
片仓正弘
简单同族
CN103229087A | CN103229087B | EP2624039A1 | EP2624039A4 | JP5372261B2 | JPWO2012081349A1 | US20130044361A1 | US8684915 | WO2012081349A1
简单同族成员数量
9
简单同族被引用专利总数
48
诉讼案件数
0
法律状态/事件
未缴年费 | 权利转移
抱歉,您的浏览器不支持PDF预览,请点击链接下载PDF文件