专利数据库
统计分析
产业报告
专利数据监控
产业人才
行业动态
产业政策法规
维权援助
个人中心
详情
文本
图像
标题
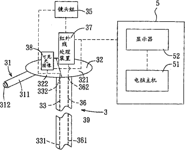
具有红外线的内视镜
授权日
2003-05-21
公开(公告)号
CN2551172Y
申请日
2002-06-14
公开(公告)日
2003-05-21
当前申请(专利权)人
汉唐集成股份有限公司
发明人
张欧 | 瞿财钧
简单同族
CN2551172Y
简单同族成员数量
1
简单同族被引用专利总数
49
诉讼案件数
0
法律状态/事件
未缴年费 | 权利转移
抱歉,您的浏览器不支持PDF预览,请点击链接下载PDF文件