专利数据库
统计分析
产业报告
专利数据监控
产业人才
行业动态
产业政策法规
维权援助
个人中心
详情
文本
图像
标题
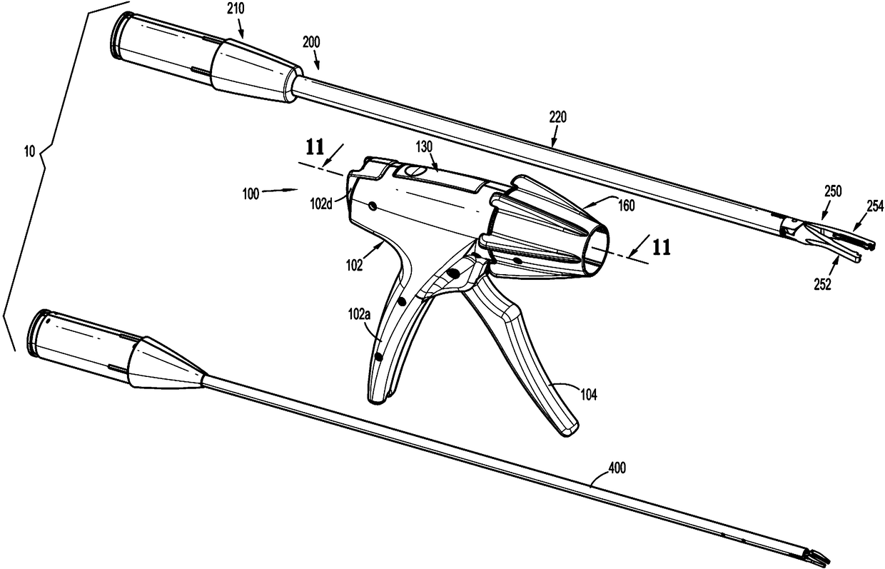
内窥镜可再用手术施夹器
授权日
1900-01-01
公开(公告)号
CN107595352A
申请日
2017-07-07
公开(公告)日
2018-01-19
当前申请(专利权)人
柯惠LP公司
发明人
雅各布·巴里尔
简单同族
AU2017203869A1 | CA2971956A1 | CN107595352A | EP3269313A1 | JP2018008060A | US20180008277A1
简单同族成员数量
6
简单同族被引用专利总数
39
诉讼案件数
0
法律状态/事件
实质审查
抱歉,您的浏览器不支持PDF预览,请点击链接下载PDF文件