专利数据库
统计分析
产业报告
专利数据监控
产业人才
行业动态
产业政策法规
维权援助
个人中心
详情
文本
图像
标题
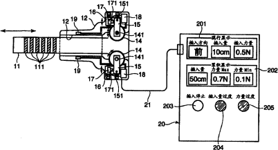
内窥镜装置
授权日
1900-01-01
公开(公告)号
CN1891138A
申请日
2006-07-07
公开(公告)日
2007-01-10
当前申请(专利权)人
奥林巴斯株式会社
发明人
野口利昭 | 谷口明 | 小板桥正信 | 中本孝治
简单同族
CN100411578C | CN1891138A | CN200980658Y | EP1902662A1 | EP1902662A4 | EP1902662B1 | JP2007014609A | JP2007014609A5 | JP4813112B2 | US20080146875A1 | US8221308 | WO2007007644A1
简单同族成员数量
12
简单同族被引用专利总数
34
诉讼案件数
0
法律状态/事件
授权 | 权利转移
抱歉,您的浏览器不支持PDF预览,请点击链接下载PDF文件