专利数据库
统计分析
产业报告
专利数据监控
产业人才
行业动态
产业政策法规
维权援助
个人中心
详情
文本
图像
标题
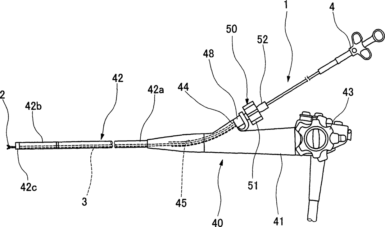
随内窥镜插入的外科手术工具
授权日
2014-06-18
公开(公告)号
CN101632603B
申请日
2009-07-20
公开(公告)日
2014-06-18
当前申请(专利权)人
赤星和也 | 富士胶片株式会社
发明人
赤星和也 | 赤羽秀文
简单同族
CN101632603A | CN101632603B | EP2147638A1 | EP2147638B1 | JP2010022619A | JP5161681B2 | US20100022826A1 | US8545395
简单同族成员数量
8
简单同族被引用专利总数
39
诉讼案件数
0
法律状态/事件
授权
抱歉,您的浏览器不支持PDF预览,请点击链接下载PDF文件