专利数据库
统计分析
产业报告
专利数据监控
产业人才
行业动态
产业政策法规
维权援助
个人中心
详情
文本
图像
标题
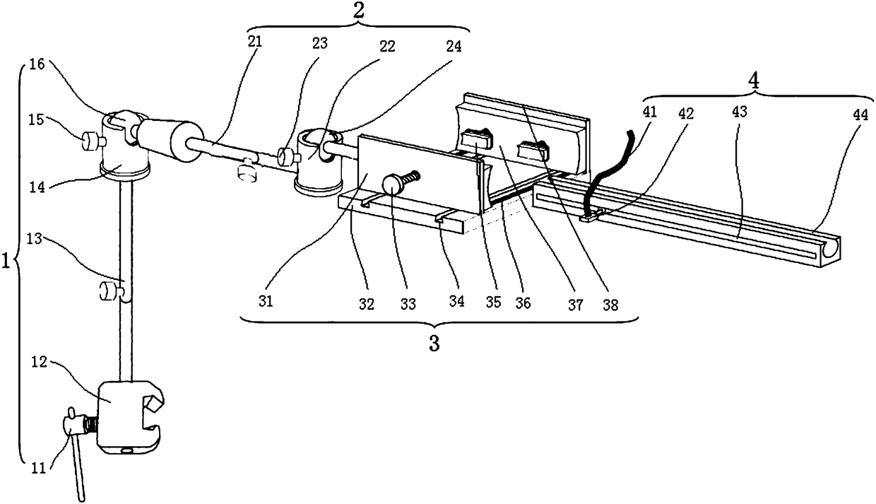
一种内窥镜镜头固定架
授权日
2018-07-06
公开(公告)号
CN207575258U
申请日
2017-05-19
公开(公告)日
2018-07-06
当前申请(专利权)人
西安交通大学医学院第一附属医院
发明人
魏兰兰 | 姚岚 | 郭秀英 | 魏莉
简单同族
CN207575258U
简单同族成员数量
1
简单同族被引用专利总数
0
诉讼案件数
0
法律状态/事件
未缴年费
抱歉,您的浏览器不支持PDF预览,请点击链接下载PDF文件