专利数据库
统计分析
产业报告
专利数据监控
产业人才
行业动态
产业政策法规
维权援助
个人中心
详情
文本
图像
标题
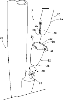
用于细长的医疗装置的内窥镜定向的适配器
授权日
1900-01-01
公开(公告)号
CN101938934A
申请日
2009-02-04
公开(公告)日
2011-01-05
当前申请(专利权)人
库克医学技术有限责任公司
发明人
D·麦格拉思
简单同族
AU2009212438A1 | CA2713691A1 | CN101938934A | CN101938934B | EP2244625A1 | EP2244625B1 | JP2011510794A | JP5618835B2 | US20090221873A1 | WO2009100106A1
简单同族成员数量
10
简单同族被引用专利总数
90
诉讼案件数
0
法律状态/事件
授权 | 权利转移
抱歉,您的浏览器不支持PDF预览,请点击链接下载PDF文件