专利数据库
统计分析
产业报告
专利数据监控
产业人才
行业动态
产业政策法规
维权援助
个人中心
详情
文本
图像
标题
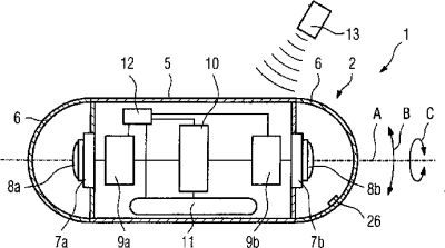
内窥镜装置
授权日
1900-01-01
公开(公告)号
CN1572228A
申请日
2004-05-21
公开(公告)日
2005-02-02
当前申请(专利权)人
西门子公司
发明人
赖因马·基尔曼 | 马丁·克利恩 | 雷纳·库斯
简单同族
CN1572228A | DE10323216B3 | JP2004344655A | US20050043583A1
简单同族成员数量
4
简单同族被引用专利总数
216
诉讼案件数
0
法律状态/事件
撤回
抱歉,您的浏览器不支持PDF预览,请点击链接下载PDF文件