专利数据库
统计分析
产业报告
专利数据监控
产业人才
行业动态
产业政策法规
维权援助
个人中心
详情
文本
图像
标题
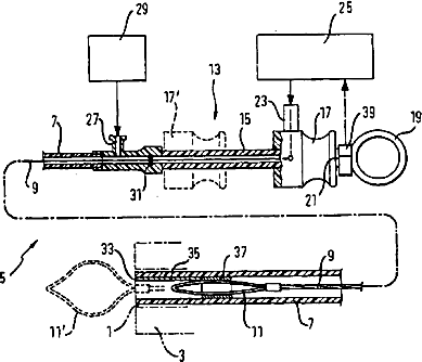
用于内诊镜或导液管的电手术器械
授权日
2008-01-02
公开(公告)号
CN100358480C
申请日
2004-06-16
公开(公告)日
2008-01-02
当前申请(专利权)人
KLS马丁有限及两合公司 | 赫伯特·马斯兰卡
发明人
赫伯特·马斯兰卡 | 伯恩哈德·胡格
简单同族
CN100358480C | CN1805716A | DE10327237A1 | DE112004000844B4 | DE112004000844D2 | JP2006527613A | JP2006527613A5 | JP4658929B2 | US20070034211A1 | US7517347 | WO2004110294A1 | WO2004110294A8
简单同族成员数量
12
简单同族被引用专利总数
77
诉讼案件数
0
法律状态/事件
授权
抱歉,您的浏览器不支持PDF预览,请点击链接下载PDF文件