专利数据库
统计分析
产业报告
专利数据监控
产业人才
行业动态
产业政策法规
维权援助
个人中心
详情
文本
图像
标题
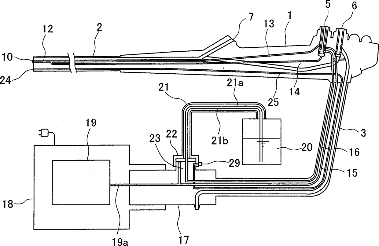
内窥镜流体供给系统
授权日
2012-09-26
公开(公告)号
CN101507597B
申请日
2009-02-13
公开(公告)日
2012-09-26
当前申请(专利权)人
富士胶片株式会社
发明人
池田利幸
简单同族
CN101507597A | CN101507597B | DE602009001002D1 | EP2090217A1 | EP2090217B1 | JP2009189637A | US20090209822A1 | US8333690
简单同族成员数量
8
简单同族被引用专利总数
47
诉讼案件数
0
法律状态/事件
未缴年费
抱歉,您的浏览器不支持PDF预览,请点击链接下载PDF文件