专利数据库
统计分析
产业报告
专利数据监控
产业人才
行业动态
产业政策法规
维权援助
个人中心
详情
文本
图像
标题
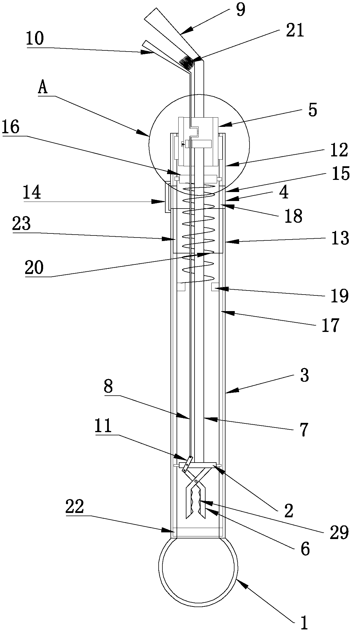
一种腹腔镜标本取出装置
授权日
2019-09-03
公开(公告)号
CN209332115U
申请日
2018-11-08
公开(公告)日
2019-09-03
当前申请(专利权)人
温州医科大学附属第二医院、温州医科大学附属育英儿童医院
发明人
朱程雅 | 金海容 | 王玉环
简单同族
CN209332115U
简单同族成员数量
1
简单同族被引用专利总数
0
诉讼案件数
0
法律状态/事件
授权
抱歉,您的浏览器不支持PDF预览,请点击链接下载PDF文件