专利数据库
统计分析
产业报告
专利数据监控
产业人才
行业动态
产业政策法规
维权援助
个人中心
详情
文本
图像
标题
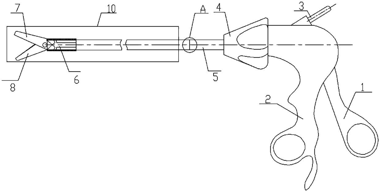
一种腹腔镜电剪刀
授权日
1900-01-01
公开(公告)号
CN105012010A
申请日
2015-07-02
公开(公告)日
2015-11-04
当前申请(专利权)人
吉林大学
发明人
房学东 | 季福建 | 吴元玉 | 金洪永 | 陈学博
简单同族
CN105012010A
简单同族成员数量
1
简单同族被引用专利总数
0
诉讼案件数
0
法律状态/事件
驳回
抱歉,您的浏览器不支持PDF预览,请点击链接下载PDF文件