专利数据库
统计分析
产业报告
专利数据监控
产业人才
行业动态
产业政策法规
维权援助
个人中心
详情
文本
图像
标题
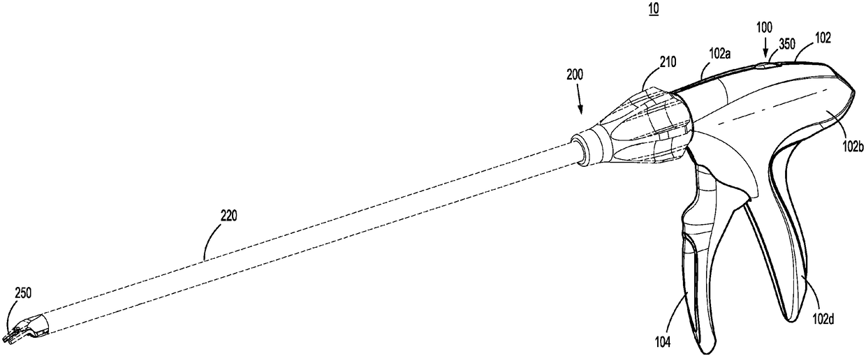
内窥镜手术施夹器
授权日
1900-01-01
公开(公告)号
CN108392242A
申请日
2018-02-05
公开(公告)日
2018-08-14
当前申请(专利权)人
柯惠LP公司
发明人
贾斯汀·威廉斯
简单同族
CN108392242A | EP3357436A1 | JP2018126504A | US20180221028A1
简单同族成员数量
4
简单同族被引用专利总数
24
诉讼案件数
0
法律状态/事件
实质审查
抱歉,您的浏览器不支持PDF预览,请点击链接下载PDF文件