专利数据库
统计分析
产业报告
专利数据监控
产业人才
行业动态
产业政策法规
维权援助
个人中心
详情
文本
图像
标题
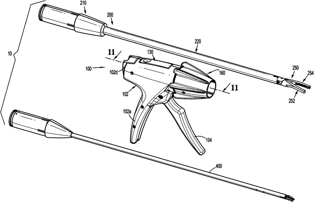
内窥镜可再用手术夹施加器
授权日
1900-01-01
公开(公告)号
CN107049408A
申请日
2016-11-10
公开(公告)日
2017-08-18
当前申请(专利权)人
柯惠LP公司
发明人
享利·E·霍尔斯滕 | 亚当·I·莱曼 | 凯瑟琳·L·斯潘塞 | 里哈德·利·克隆斯
简单同族
CA2947820A1 | CN107049408A | EP3170460A1 | JP2017099866A | US10390831 | US20170128071A1 | US20190328391A1
简单同族成员数量
7
简单同族被引用专利总数
49
诉讼案件数
0
法律状态/事件
撤回
抱歉,您的浏览器不支持PDF预览,请点击链接下载PDF文件