专利数据库
统计分析
产业报告
专利数据监控
产业人才
行业动态
产业政策法规
维权援助
个人中心
详情
文本
图像
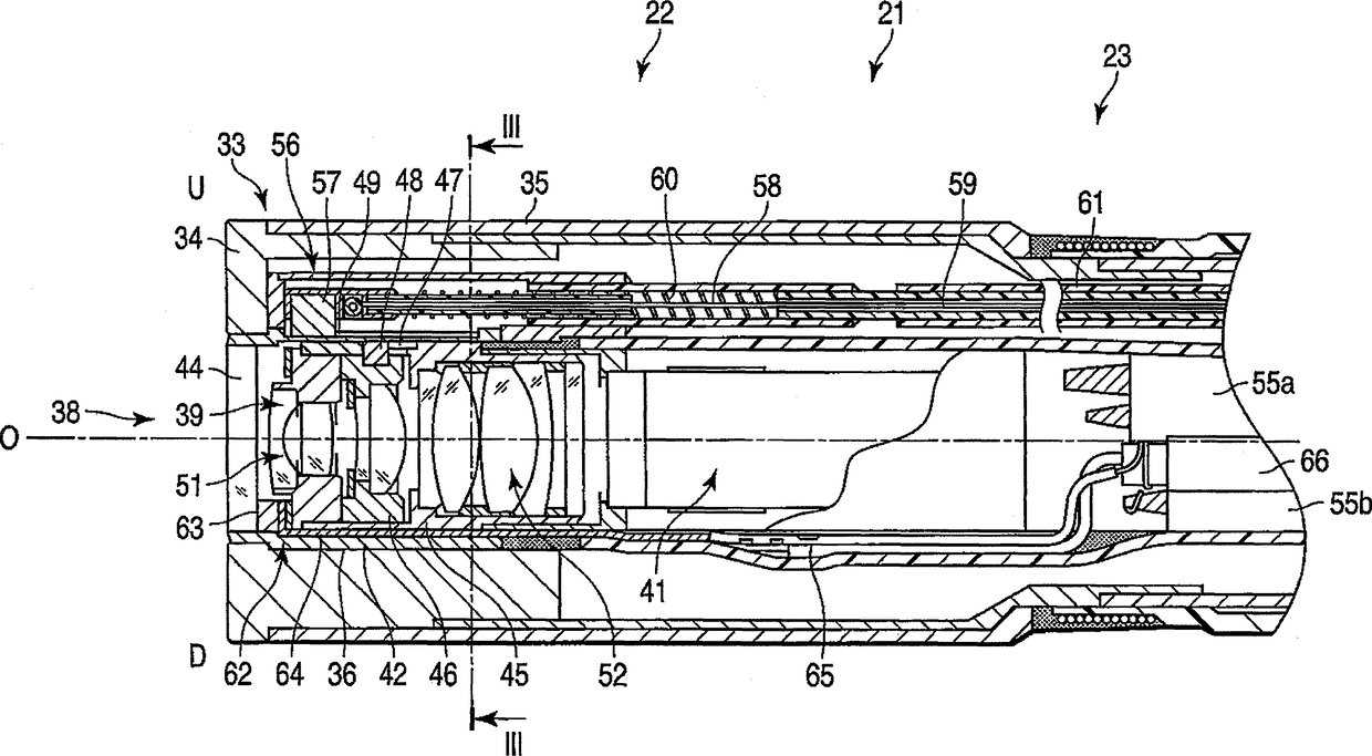
标题
内窥镜插入部
授权日
2013-10-30
公开(公告)号
CN102131450B
申请日
2009-10-23
公开(公告)日
2013-10-30
当前申请(专利权)人
奥林巴斯株式会社
发明人
青野进 | 小久保光贵
简单同族
CN102131450A | CN102131450B | EP2324754A1 | EP2324754A4 | EP2324754B1 | JP4624484B2 | JPWO2010047396A1 | US20100268027A1 | US8142351 | WO2010047396A1
简单同族成员数量
10
简单同族被引用专利总数
42
诉讼案件数
0
法律状态/事件
授权 | 权利转移
抱歉,您的浏览器不支持PDF预览,请点击链接下载PDF文件