专利数据库
统计分析
产业报告
专利数据监控
产业人才
行业动态
产业政策法规
维权援助
个人中心
详情
文本
图像
标题
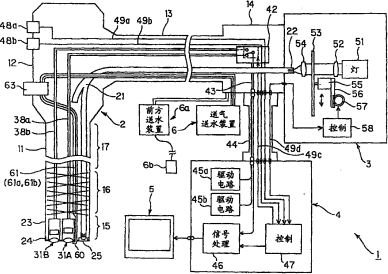
内窥镜用插入部
授权日
2009-07-29
公开(公告)号
CN100518620C
申请日
2006-01-12
公开(公告)日
2009-07-29
当前申请(专利权)人
奥林巴斯株式会社
发明人
大田原崇
简单同族
CN100518620C | CN101098658A | EP1839553A1 | EP1839553A4 | EP1839553B1 | JP2006192200A | JP4542438B2 | US20080177144A1 | US8114013 | WO2006075650A1
简单同族成员数量
10
简单同族被引用专利总数
21
诉讼案件数
0
法律状态/事件
授权 | 权利转移
抱歉,您的浏览器不支持PDF预览,请点击链接下载PDF文件