专利数据库
统计分析
产业报告
专利数据监控
产业人才
行业动态
产业政策法规
维权援助
个人中心
详情
文本
图像
标题
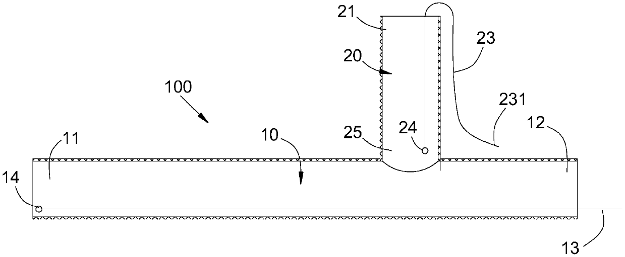
一次性无菌医用内窥镜护套
授权日
2020-06-16
公开(公告)号
CN210749508U
申请日
2019-07-04
公开(公告)日
2020-06-16
当前申请(专利权)人
陈勇 | 南京春辉科技实业有限公司
发明人
陈勇 | 陆小建 | 何小茹 | 申兆红 | 濮悦
简单同族
CN210749508U
简单同族成员数量
1
简单同族被引用专利总数
0
诉讼案件数
0
法律状态/事件
授权
抱歉,您的浏览器不支持PDF预览,请点击链接下载PDF文件