专利数据库
统计分析
产业报告
专利数据监控
产业人才
行业动态
产业政策法规
维权援助
个人中心
详情
文本
图像
标题
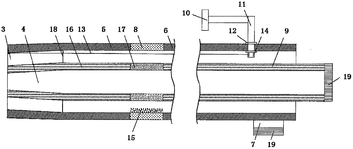
腹腔镜开放手术下弯式激光可负压吸引导管
授权日
2019-10-22
公开(公告)号
CN209518931U
申请日
2018-11-27
公开(公告)日
2019-10-22
当前申请(专利权)人
高国栋
发明人
高国栋 | 谭洁
简单同族
CN209518931U
简单同族成员数量
1
简单同族被引用专利总数
0
诉讼案件数
0
法律状态/事件
授权
抱歉,您的浏览器不支持PDF预览,请点击链接下载PDF文件