专利数据库
统计分析
产业报告
专利数据监控
产业人才
行业动态
产业政策法规
维权援助
个人中心
详情
文本
图像
标题
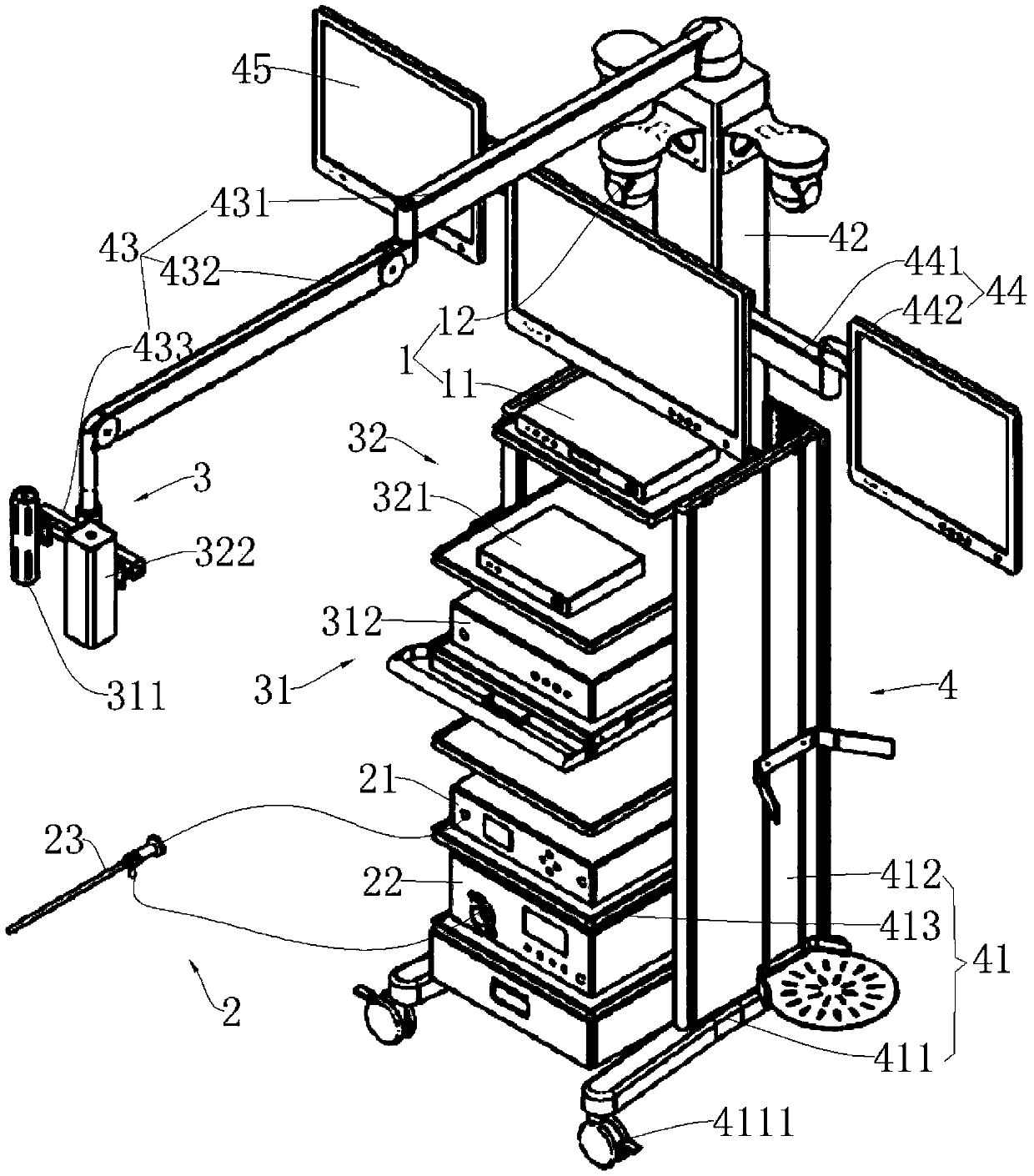
应用红外热成像的一体化外视镜腹腔镜设备
授权日
2020-04-17
公开(公告)号
CN210330756U
申请日
2019-02-20
公开(公告)日
2020-04-17
当前申请(专利权)人
广州乔铁医疗科技有限公司
发明人
乔铁 | 雷凌云 | 高瑞 | 乔景亮
简单同族
CN210330756U
简单同族成员数量
1
简单同族被引用专利总数
0
诉讼案件数
0
法律状态/事件
授权
抱歉,您的浏览器不支持PDF预览,请点击链接下载PDF文件