专利数据库
统计分析
产业报告
专利数据监控
产业人才
行业动态
产业政策法规
维权援助
个人中心
详情
文本
图像
标题
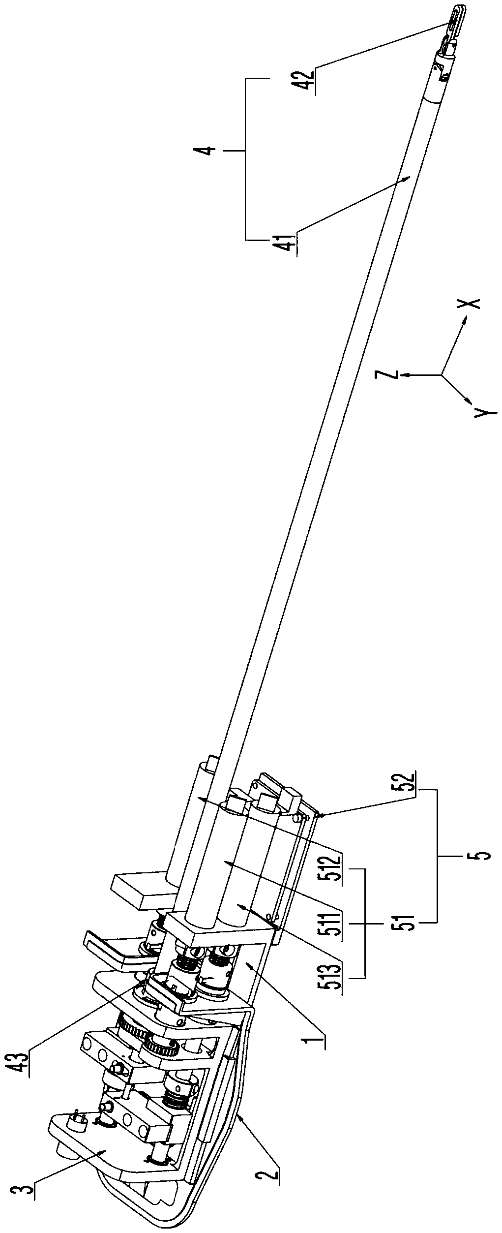
腹腔镜手术机器人多自由度器械的固定装置
授权日
2019-11-01
公开(公告)号
CN209564204U
申请日
2018-10-09
公开(公告)日
2019-11-01
当前申请(专利权)人
成都博恩思医学机器人有限公司
发明人
李耀 | 凌正刚 | 黄松 | 罗腾蛟
简单同族
CN209564204U
简单同族成员数量
1
简单同族被引用专利总数
0
诉讼案件数
0
法律状态/事件
授权
抱歉,您的浏览器不支持PDF预览,请点击链接下载PDF文件