专利数据库
统计分析
产业报告
专利数据监控
产业人才
行业动态
产业政策法规
维权援助
个人中心
详情
文本
图像
标题
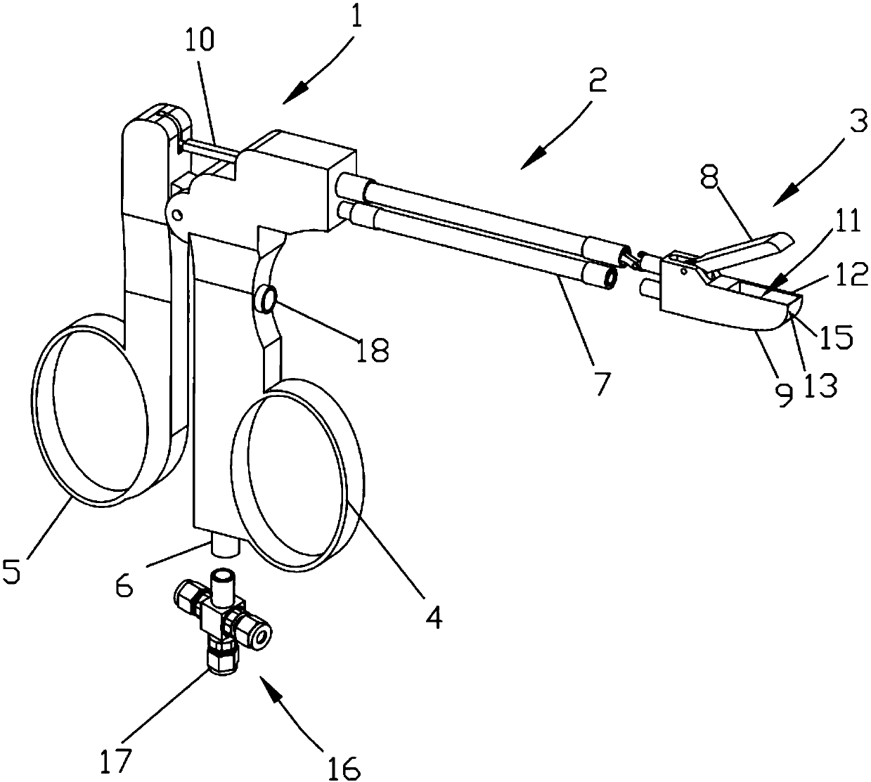
一种用于腹腔镜手术的血块清除手术钳
授权日
1900-01-01
公开(公告)号
CN109602477A
申请日
2019-01-31
公开(公告)日
2019-04-12
当前申请(专利权)人
中南大学湘雅三医院
发明人
李伟正 | 朱利勇 | 王丹 | 朱晒红 | 李鹏洲 | 杨湘武 | 易波
简单同族
CN109602477A
简单同族成员数量
1
简单同族被引用专利总数
0
诉讼案件数
0
法律状态/事件
实质审查
抱歉,您的浏览器不支持PDF预览,请点击链接下载PDF文件