专利数据库
统计分析
产业报告
专利数据监控
产业人才
行业动态
产业政策法规
维权援助
个人中心
详情
文本
图像
标题
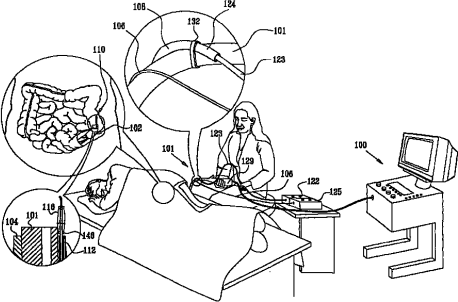
球囊引导的内窥镜术
授权日
2011-04-13
公开(公告)号
CN101378691B
申请日
2005-08-08
公开(公告)日
2011-04-13
当前申请(专利权)人
智能医疗系统有限公司
发明人
G·特柳克
简单同族
AU2005335371A1 | AU2005335371B2 | CA2618492A1 | CA2618492C | CA3012285A1 | CN101378691A | CN101378691B | EP1925188A2 | EP1925188A4 | EP1925188B1 | EP2712537A1 | EP2712537B1 | EP3241483A2 | EP3241483A3 | EP3241483B1 | IL188957A | IL188957D0 | IL237366A | IL237366D0 | IL237367A | IL237367D0 | IL237368A | IL237368D0 | JP2009504229A | JP5144515B2 | US20090227835A1 | US20170027433A1 | US20190191983A1 | US9427142 | WO2007017854A2 | WO2007017854A3
简单同族成员数量
31
简单同族被引用专利总数
85
诉讼案件数
0
法律状态/事件
授权
抱歉,您的浏览器不支持PDF预览,请点击链接下载PDF文件