专利数据库
统计分析
产业报告
专利数据监控
产业人才
行业动态
产业政策法规
维权援助
个人中心
详情
文本
图像
标题
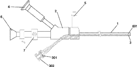
具有压力检测通道的医用内窥镜
授权日
2017-01-18
公开(公告)号
CN205885396U
申请日
2016-05-31
公开(公告)日
2017-01-18
当前申请(专利权)人
郑州康佰甲科技有限公司
发明人
曾国华 | 曹富建 | 许长宝
简单同族
CN205885396U
简单同族成员数量
1
简单同族被引用专利总数
0
诉讼案件数
0
法律状态/事件
授权 | 权利转移
抱歉,您的浏览器不支持PDF预览,请点击链接下载PDF文件