专利数据库
统计分析
产业报告
专利数据监控
产业人才
行业动态
产业政策法规
维权援助
个人中心
详情
文本
图像
标题
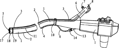
带有一次性鞘套的内窥镜系统及其使用方法
授权日
2007-09-26
公开(公告)号
CN100339043C
申请日
2005-04-15
公开(公告)日
2007-09-26
当前申请(专利权)人
姜克让 | 姜守美
发明人
姜克让 | 王希
简单同族
CN100339043C | CN1692872A
简单同族成员数量
2
简单同族被引用专利总数
23
诉讼案件数
0
法律状态/事件
授权 | 许可
抱歉,您的浏览器不支持PDF预览,请点击链接下载PDF文件