专利数据库
统计分析
产业报告
专利数据监控
产业人才
行业动态
产业政策法规
维权援助
个人中心
详情
文本
图像
标题
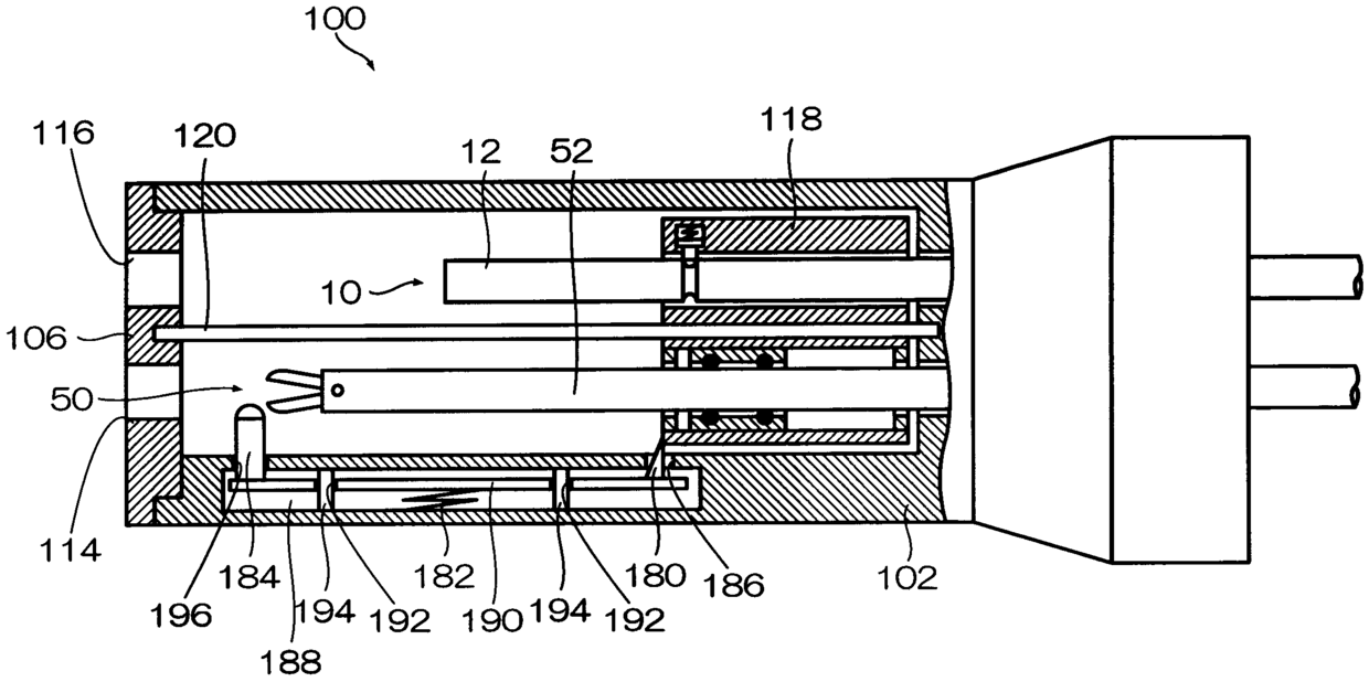
内窥镜手术装置及外套管
授权日
2016-09-28
公开(公告)号
CN104349734B
申请日
2013-05-22
公开(公告)日
2016-09-28
当前申请(专利权)人
富士胶片株式会社
发明人
出岛工 | 鸟泽信幸
简单同族
CN104349734A | CN104349734B | EP2856955A1 | EP2856955A4 | JP5932994B2 | JPWO2013176167A1 | US10376135 | US20150080650A1 | US20190320883A1 | WO2013176167A1
简单同族成员数量
10
简单同族被引用专利总数
141
诉讼案件数
0
法律状态/事件
授权
抱歉,您的浏览器不支持PDF预览,请点击链接下载PDF文件