专利数据库
统计分析
产业报告
专利数据监控
产业人才
行业动态
产业政策法规
维权援助
个人中心
详情
文本
图像
标题
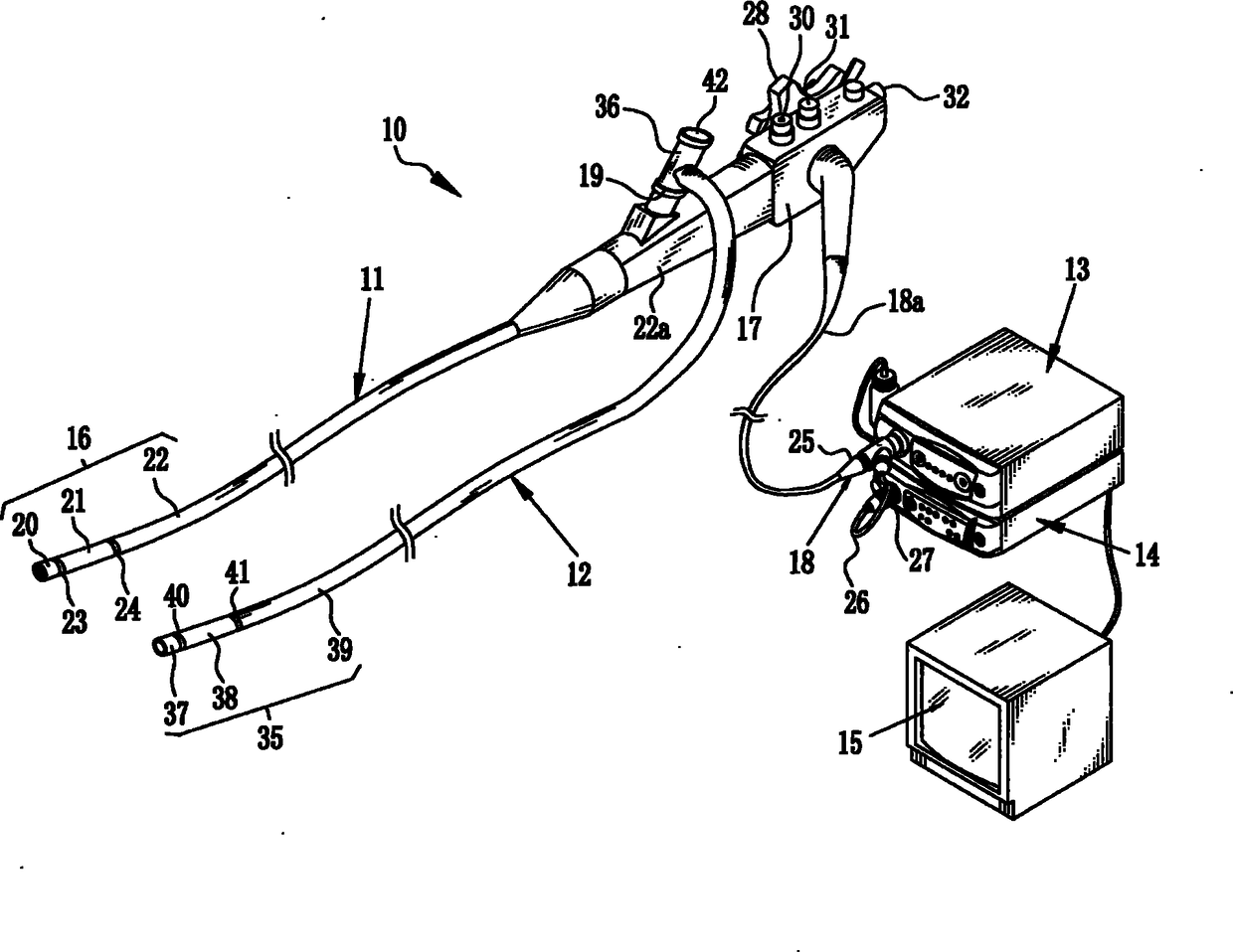
内窥镜系统及其协助工具和适配器
授权日
2014-01-08
公开(公告)号
CN102149312B
申请日
2009-09-07
公开(公告)日
2014-01-08
当前申请(专利权)人
富士胶片株式会社
发明人
鸟居雄一 | 新井治彦 | 古贺健彦 | 池田利幸 | 井上正也 | 关正广 | 西野朝春 | 井山胜藏
简单同族
CN102149312A | CN102149312B | EP2339950A1 | EP2339950A4 | KR101644842B1 | KR1020110066137A | WO2010027109A1
简单同族成员数量
7
简单同族被引用专利总数
27
诉讼案件数
0
法律状态/事件
授权
抱歉,您的浏览器不支持PDF预览,请点击链接下载PDF文件