专利数据库
统计分析
产业报告
专利数据监控
产业人才
行业动态
产业政策法规
维权援助
个人中心
详情
文本
图像
标题
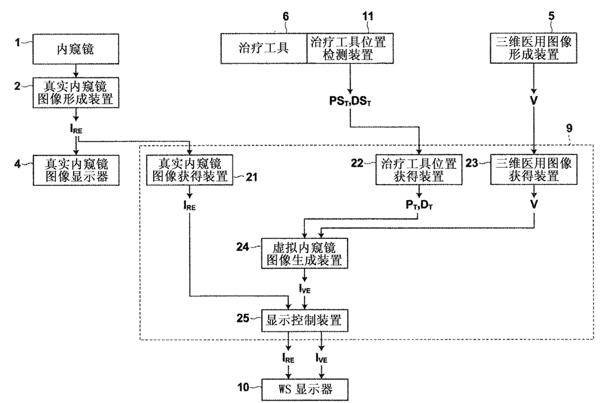
内窥镜观察辅助系统、方法、装置和程序
授权日
2015-05-06
公开(公告)号
CN102821670B
申请日
2011-03-30
公开(公告)日
2015-05-06
当前申请(专利权)人
富士胶片株式会社
发明人
北村嘉郎 | 中村佳儿
简单同族
CN102821670A | CN102821670B | EP2554104A1 | EP2554104A4 | EP2554104B1 | JP2011212245A | JP5535725B2 | US20130018255A1 | US9220468 | WO2011122037A1
简单同族成员数量
10
简单同族被引用专利总数
51
诉讼案件数
0
法律状态/事件
授权
抱歉,您的浏览器不支持PDF预览,请点击链接下载PDF文件