专利数据库
统计分析
产业报告
专利数据监控
产业人才
行业动态
产业政策法规
维权援助
个人中心
详情
文本
图像
标题
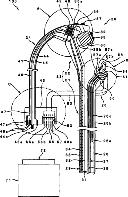
内窥镜系统
授权日
1900-01-01
公开(公告)号
CN1826079A
申请日
2004-02-16
公开(公告)日
2006-08-30
当前申请(专利权)人
奥林巴斯株式会社
发明人
野口利昭 | 长谷川準 | 后町昌纪 | 铃木英理 | 黑岛尚士
简单同族
AU2004315565A1 | AU2004315565B2 | CN100453025C | CN1826079A | DE602004021940D1 | EP1652464A1 | EP1652464A4 | EP1652464B1 | JP4461101B2 | JPWO2005077250A1 | US20060116552A1 | WO2005077250A1
简单同族成员数量
12
简单同族被引用专利总数
48
诉讼案件数
0
法律状态/事件
未缴年费
抱歉,您的浏览器不支持PDF预览,请点击链接下载PDF文件