专利数据库
统计分析
产业报告
专利数据监控
产业人才
行业动态
产业政策法规
维权援助
个人中心
详情
文本
图像
标题
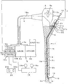
内窥镜处置工具和内窥镜用处置工具装置
授权日
2011-02-02
公开(公告)号
CN101198370B
申请日
2006-06-12
公开(公告)日
2011-02-02
当前申请(专利权)人
奥林巴斯株式会社
发明人
石黑努
简单同族
CN101198370A | CN101198370B | EP1892009A1 | EP1892009A4 | EP1892009B1 | EP2289591A2 | EP2289591A3 | EP2289591A8 | JP5000503B2 | JPWO2006134881A1 | US20080097159A1 | WO2006134881A1
简单同族成员数量
12
简单同族被引用专利总数
134
诉讼案件数
0
法律状态/事件
未缴年费 | 权利转移
抱歉,您的浏览器不支持PDF预览,请点击链接下载PDF文件