专利数据库
统计分析
产业报告
专利数据监控
产业人才
行业动态
产业政策法规
维权援助
个人中心
详情
文本
图像
标题
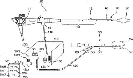
气囊式内窥镜的气囊控制装置
授权日
1900-01-01
公开(公告)号
CN101785656A
申请日
2004-05-11
公开(公告)日
2010-07-28
当前申请(专利权)人
富士胶片株式会社 | SRJ公司
发明人
关口正
简单同族
CN100522043C | CN101785656A | CN101785656B | CN1550203A | DE102004023457A1 | DE102004023457B4
简单同族成员数量
6
简单同族被引用专利总数
82
诉讼案件数
0
法律状态/事件
授权
抱歉,您的浏览器不支持PDF预览,请点击链接下载PDF文件