专利数据库
统计分析
产业报告
专利数据监控
产业人才
行业动态
产业政策法规
维权援助
个人中心
详情
文本
图像
标题
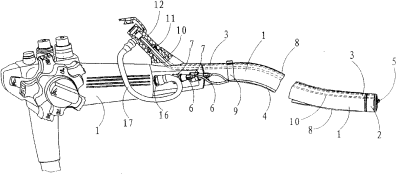
带有一次性鞘套的内窥镜系统
授权日
2007-08-29
公开(公告)号
CN200939121Y
申请日
2005-08-18
公开(公告)日
2007-08-29
当前申请(专利权)人
姜克让 | 姜守美
发明人
姜克让 | 姜守美
简单同族
AT412362T | CN200939121Y | DE602005010703D1 | EP1759625A1 | EP1759625A4 | EP1759625B1 | US20080249362A1 | WO2006063491A1 | WO2006063494A1 | WO2006063497A1
简单同族成员数量
10
简单同族被引用专利总数
52
诉讼案件数
0
法律状态/事件
期限届满
抱歉,您的浏览器不支持PDF预览,请点击链接下载PDF文件