专利数据库
统计分析
产业报告
专利数据监控
产业人才
行业动态
产业政策法规
维权援助
个人中心
详情
文本
图像
标题
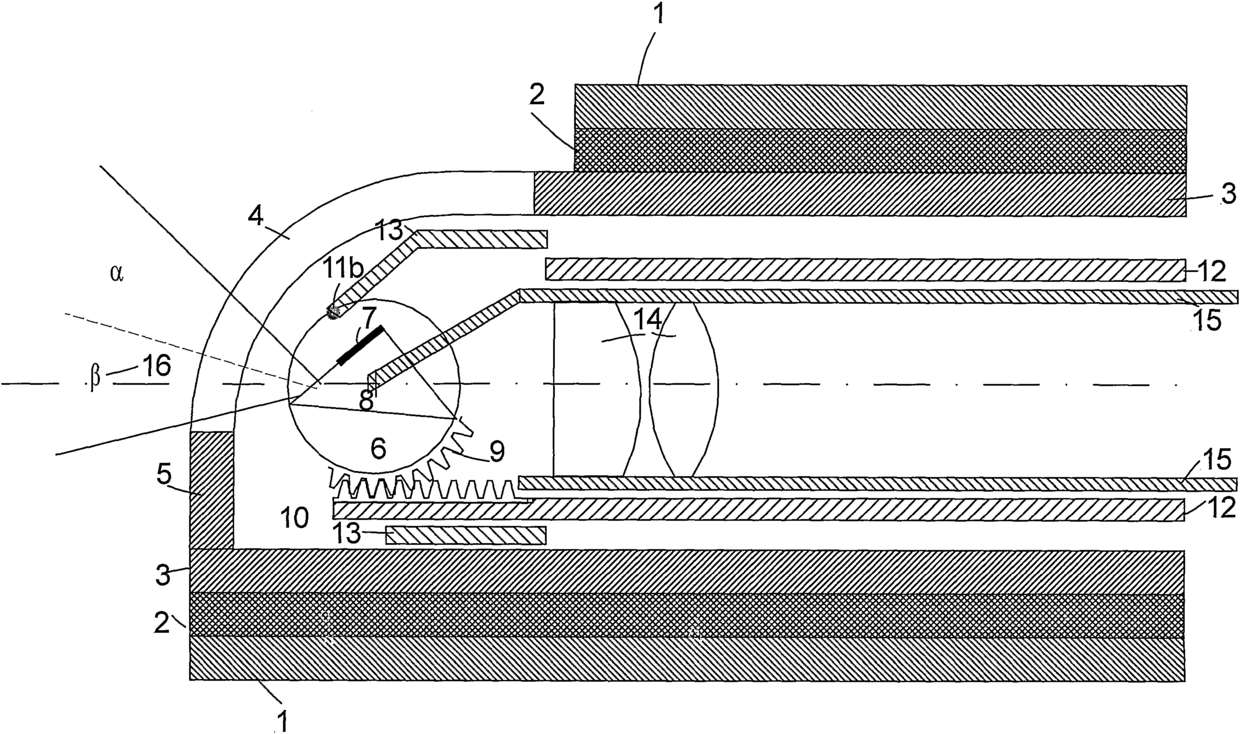
内窥镜
授权日
2016-01-06
公开(公告)号
CN102573598B
申请日
2010-10-11
公开(公告)日
2016-01-06
当前申请(专利权)人
摄谱乐-高美格公司
发明人
欧根·韦默 | 休伯特·科祖加克
简单同族
AU2010306240A1 | AU2010306240B2 | BR112012008426A2 | CA2777252A1 | CN102573598A | CN102573598B | DE102009049143B3 | EP2488092A1 | JP2013507150A | JP5655078B2 | KR101618920B1 | KR1020120095385A | RU2012117962A | RU2563430C2 | US20120136213A1 | US8485968 | WO2011044878A1
简单同族成员数量
17
简单同族被引用专利总数
72
诉讼案件数
0
法律状态/事件
未缴年费
抱歉,您的浏览器不支持PDF预览,请点击链接下载PDF文件