专利数据库
统计分析
产业报告
专利数据监控
产业人才
行业动态
产业政策法规
维权援助
个人中心
详情
文本
图像
标题
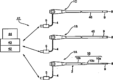
内窥镜装置
授权日
2008-03-26
公开(公告)号
CN100376199C
申请日
2003-10-22
公开(公告)日
2008-03-26
当前申请(专利权)人
奥林巴斯株式会社
发明人
森山宏树
简单同族
CA2501662A1 | CA2501662C | CA2501788A1 | CA2501788C | CN100376199C | CN100502759C | CN1708252A | CN1708253A | EP1554972A1 | EP1554972A4 | EP1554972B1 | EP1554973A1 | EP1554973A4 | JP2004141492A | JP2004141492A5 | JP4009519B2 | KR100685340B1 | KR100690467B1 | KR1020050063772A | KR1020050063773A | US20040080613A1 | US20040106853A1 | WO2004037075A1 | WO2004037076A1
简单同族成员数量
24
简单同族被引用专利总数
103
诉讼案件数
0
法律状态/事件
未缴年费
抱歉,您的浏览器不支持PDF预览,请点击链接下载PDF文件