专利数据库
统计分析
产业报告
专利数据监控
产业人才
行业动态
产业政策法规
维权援助
个人中心
详情
文本
图像
标题
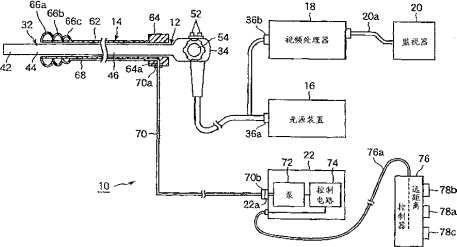
内窥镜用插入辅助器具以及内窥镜系统
授权日
2010-07-21
公开(公告)号
CN101116607B
申请日
2007-07-18
公开(公告)日
2010-07-21
当前申请(专利权)人
奥林巴斯株式会社
发明人
松浦伸之 | 高濑精介 | 木村英伸 | 吉田尊俊 | 松井頼夫
简单同族
CN101116607A | CN101116607B | EP1884187A1 | EP1884187B1 | JP2008035908A | JP4885640B2 | US20080033246A1 | US20110092770A1 | US8403827
简单同族成员数量
9
简单同族被引用专利总数
51
诉讼案件数
0
法律状态/事件
未缴年费 | 权利转移
抱歉,您的浏览器不支持PDF预览,请点击链接下载PDF文件