专利数据库
统计分析
产业报告
专利数据监控
产业人才
行业动态
产业政策法规
维权援助
个人中心
详情
文本
图像
标题
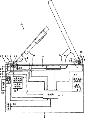
内窥镜洗涤消毒装置
授权日
1900-01-01
公开(公告)号
CN101166457A
申请日
2006-04-20
公开(公告)日
2008-04-23
当前申请(专利权)人
奥林巴斯株式会社
发明人
铃木英理 | 野口利昭
简单同族
CN101166457A | CN101166457B | EP1875856A1 | EP1875856A4 | EP1875856B1 | JP2006296982A | JP4700397B2 | KR100911792B1 | KR1020070103491A | US20090065034A1 | US8034193 | WO2006115177A1
简单同族成员数量
12
简单同族被引用专利总数
65
诉讼案件数
0
法律状态/事件
未缴年费 | 权利转移
抱歉,您的浏览器不支持PDF预览,请点击链接下载PDF文件