专利数据库
统计分析
产业报告
专利数据监控
产业人才
行业动态
产业政策法规
维权援助
个人中心
详情
文本
图像
标题
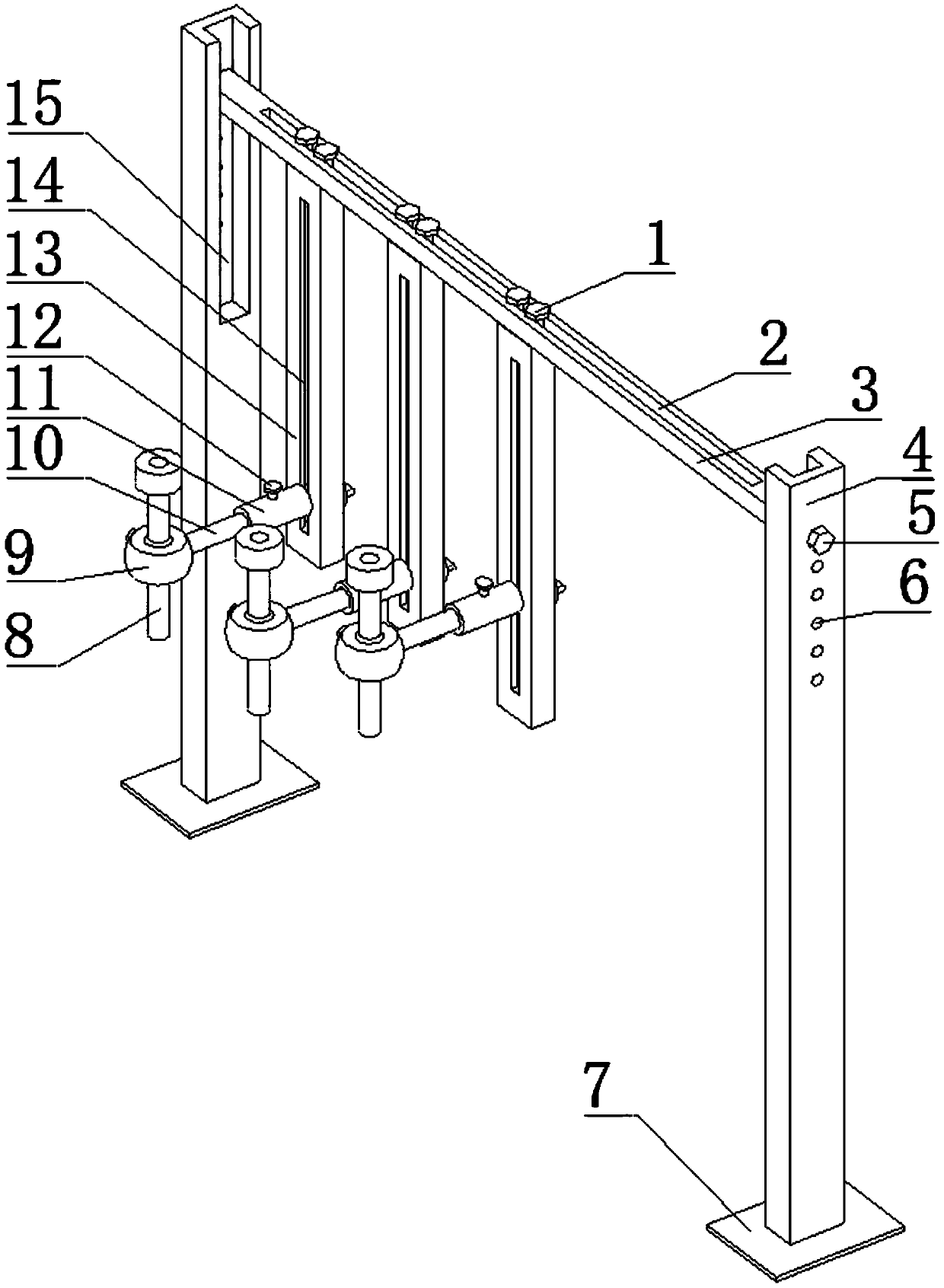
一种腹腔镜角度辅助调整装置
授权日
2019-08-02
公开(公告)号
CN209186636U
申请日
2018-10-30
公开(公告)日
2019-08-02
当前申请(专利权)人
萱闱(河南)生命科学研究院有限公司 | 段惠峰
发明人
段惠峰 | 黄勇 | 曾凡 | 邰海军 | 黄锦 | 柯钦瑜
简单同族
CN209186636U
简单同族成员数量
1
简单同族被引用专利总数
0
诉讼案件数
0
法律状态/事件
授权 | 权利转移
抱歉,您的浏览器不支持PDF预览,请点击链接下载PDF文件