专利数据库
统计分析
产业报告
专利数据监控
产业人才
行业动态
产业政策法规
维权援助
个人中心
详情
文本
图像
标题
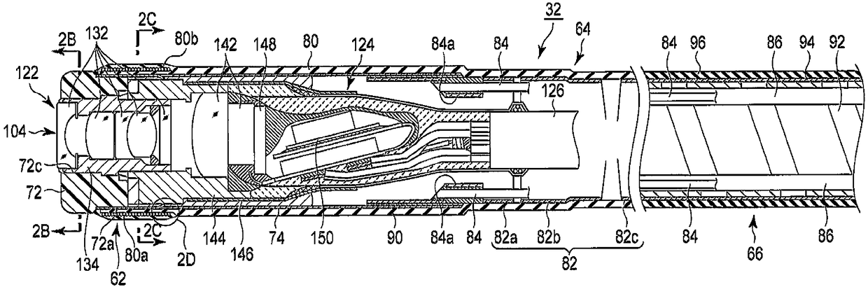
电子内窥镜及内窥镜系统
授权日
1900-01-01
公开(公告)号
CN102958421A
申请日
2012-03-05
公开(公告)日
2013-03-06
当前申请(专利权)人
奥林巴斯株式会社
发明人
村山真彦 | 比地原邦彦
简单同族
CN102958421A | CN102958421B | EP2561796A1 | EP2561796A4 | EP2561796B1 | JP5112575B2 | JPWO2012124526A1 | US20130050457A1 | US8654184 | WO2012124526A1
简单同族成员数量
10
简单同族被引用专利总数
30
诉讼案件数
0
法律状态/事件
授权 | 权利转移
抱歉,您的浏览器不支持PDF预览,请点击链接下载PDF文件