专利数据库
统计分析
产业报告
专利数据监控
产业人才
行业动态
产业政策法规
维权援助
个人中心
详情
文本
图像
标题
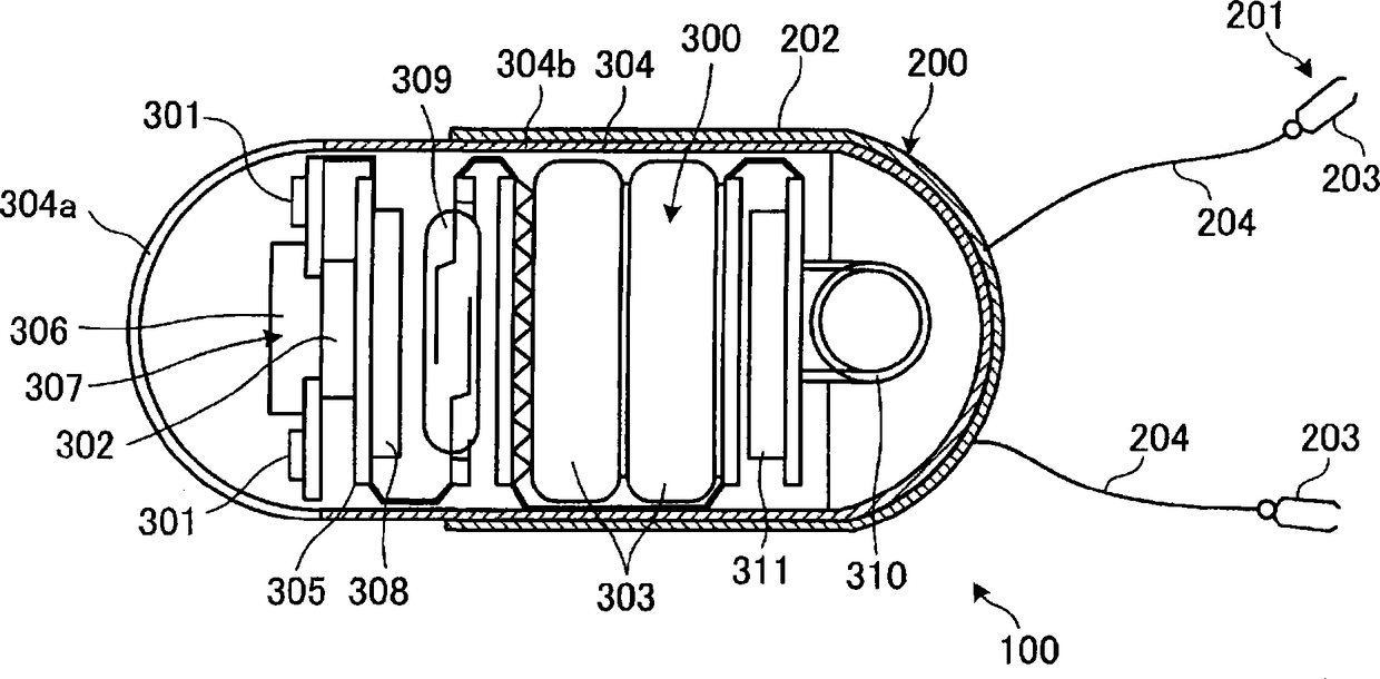
胶囊留置型医疗装置、及胶囊内窥镜用生物体内留置装置
授权日
2012-10-24
公开(公告)号
CN101217908B
申请日
2006-07-06
公开(公告)日
2012-10-24
当前申请(专利权)人
奥林巴斯株式会社
发明人
泷泽宽伸 | 田中慎介 | 平川克己 | 内山昭夫 | 横井武司
简单同族
CN101217908A | CN101217908B | EP1902663A1 | EP1902663A4 | HK1113995A | US20090018396A1 | WO2007007648A1
简单同族成员数量
7
简单同族被引用专利总数
97
诉讼案件数
0
法律状态/事件
未缴年费 | 权利转移
抱歉,您的浏览器不支持PDF预览,请点击链接下载PDF文件