专利数据库
统计分析
产业报告
专利数据监控
产业人才
行业动态
产业政策法规
维权援助
个人中心
详情
文本
图像
标题
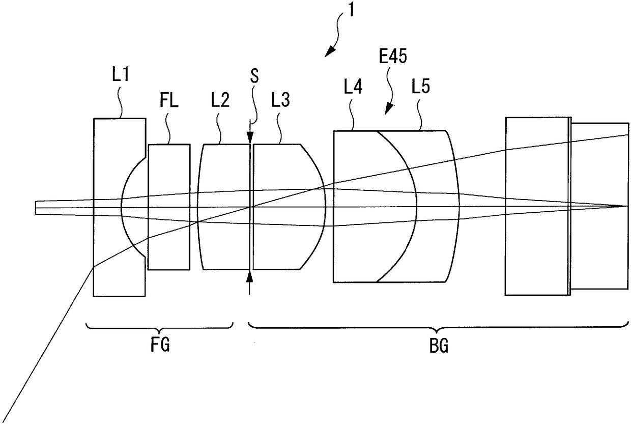
内窥镜用物镜及使用该内窥镜用物镜的内窥镜
授权日
2014-12-10
公开(公告)号
CN102667570B
申请日
2010-12-10
公开(公告)日
2014-12-10
当前申请(专利权)人
奥林巴斯株式会社
发明人
片平裕子
简单同族
CN102667570A | CN102667570B | EP2498114A1 | EP2498114A4 | JP5031930B2 | JPWO2011077972A1 | US20120154932A1 | US8449127 | WO2011077972A1
简单同族成员数量
9
简单同族被引用专利总数
26
诉讼案件数
0
法律状态/事件
授权 | 权利转移
抱歉,您的浏览器不支持PDF预览,请点击链接下载PDF文件